如今遊戲主機廠商中,要問哪家最有創新精神,我想大部分人的答案都會是任天堂吧。
從GameCube之後,任天堂放棄了高性能主機理念,開始向差異化發展。用“遙控器”來玩的體感主機Wii、手柄上帶塊擴展螢幕的的WiiU、將主機掌機合二為一的Switch、還有將主機與紙板結合的Labo,這些產品每次出現的時候都會讓玩家們眼前一亮。創新精神可以說是任天堂整個公司一貫以來的堅持,從之前網上瘋傳的那張手柄對比圖裡你就能感覺出來:

一起來嗨!
手柄十字鍵、肩鍵、類比搖杆,這些現在看來十分常見的設計最初都來自于任天堂,並給整個遊戲行業帶來了深刻的影響。
縱觀任天堂之前公佈的專利檔,內容大多都是商品實現後再公開的,但也有一些有趣的點子我們遲遲沒看到成品出現。它們有的可能會在未來某天與大家見面,有的也許已經被當做廢案被任天堂壓箱底了。不過從創新的角度上來說,這些設計看起來非常有趣,今天我們就一起來看看任天堂有哪些公開過但還沒有實現的有趣專利。
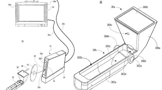
蓋板為整塊螢幕的“手柄”
2015年12月,任天堂向美國專利商標局提交的一項專利公開,表面上看的話,這就是僅有一對肩鍵和一對類比搖杆的手柄,除此以外再也沒有其他按鍵了。而且類比搖杆被設計為五向控制,兩側的抓握部分是很常見的手柄設計。

不過有趣的是,這並不是只是一個普通的手柄:整個手柄的A面由一整塊液晶屏構成,而且在搖杆部分挖了兩個洞,使螢幕看起來與手柄部分融為一體。從專利圖上來看,有時操作提示會直接出現在搖杆和肩鍵附近的螢幕上,道具欄也可以依此來設計,比起常規的手柄操作更加直觀一些。

當然,你可能會覺得這就是WiiU的一個增強設計,畢竟WiiU的手柄上也有塊螢幕,這樣的猜測也不是沒有可能。不過從專利書中來看,這個“手柄”內置高性能處理器和無線網卡,可以獨立玩遊戲的同時還能與網路連接下載應用,使用Web流覽器(此時手柄需要豎過來使用)。所以比起手柄,掌機或主機的可能性很大。

豎起來之後,螢幕上的UI佈局甚至有點像一部手機
日本遊戲硬體評論家西川善司曾經根據此專利書提出一些設想:它可能是WiiU的外設,可能是可以獨立玩遊戲的“手柄”,也有可能同時有掌機和主機兩種模式,接電源後可能以最大功率發揮高性能,對於處理器也給出了“Tegra X1”的猜測……是的,當時很多人認為這就是代號為“NX”的任天堂新主機,而且確實猜對了一部分Switch的設計。但可惜的是專利書上的這個設計並沒有被真正做出來。
所以現在看來,這個專利可能就是Switch已經被廢棄的原案。不過沒有常規按鍵的設計實在太過激進,手柄集成整台主機的難度和成本也比較大,沒有實現很正常。但現在看來,這實在是個有趣的設計。
被動行走裝置
任天堂有很多專利一眼看上去跟遊戲一點關係都沒有,比如我們現在介紹的這個。專利全名為“被動行走裝置及被動行走模組”。

“被動行走”這個概念其實比較偏學術。簡單來說,一般的機器人想要行走的話,人們需要在它的關節處加上電機,並通過設定好的速度甚至是程式使其行走。不過對於一個被動行走裝置來說,它能做的就是讓裝置的步伐在特定情況下自行運轉,甚至不需要動力。比如將一個被動行走裝置放在斜坡上,它就能根據重力勢能穩定地交替邁步行走。通常來說,該裝置的在康復醫療、玩具等方面都有使用價值。
任天堂的這項專利也是如此,它的目的是改進了一個原有被動行走裝置的設計,使其具有更好的穩定性。不過任天堂設計的這個東西是幹什麼用的呢?有人猜測可能任天堂又想幹回曾經的玩具老本行,因為專利圖很容易讓人聯想到早年前任天堂出品的超級怪手和R.O.B。另一方面這也可能被用於某種特定遊戲的外設?實在不太好猜,畢竟專利中詳細介紹的只有機械設計部分,具體會應用到那個領域還是等任天堂未來告訴我們吧。

R.O.B、機械怪手和這個裝置的共同點是什麼?大概就是都有一種機械感吧
Wii Remote 相關外設
Wii的遙控器手柄和雞腿手柄實在太過另類了,結合體感使用,操作的方式也非常多。另外官方曾經為這一套手柄設計了各種外設,比如方向盤、光槍外殼Wii Zapper等等。

其實任天堂還有更多有關Wii手柄的創意和專利沒有實現,這裡簡單舉幾個例子。其中一款外設專利就是為Wii手柄增加一塊觸控式螢幕,看專利圖的話應該是用紅外線功能實現的。有了觸控式螢幕,玩法自然會得到擴展。

另外還有一個機器人外設專利,玩家可以將Wii手柄鑲嵌到機器人的體內。雖然專利沒有公開,但外界猜測可能是通過額外的遙控器操縱機器人,帶動Wii手柄控制遊戲中的角色,看起來科技感十足。

好像很複雜的樣子
Wii上的體育遊戲很多,有一款專利跟橄欖球相關:將Wii手柄鑲嵌到橄欖球外設中,然後玩家就可以手持橄欖球加入遊戲中的比賽了。

這個就直觀多了,畢竟Wii上也有類似的網球拍外設
類似的外設還有不少,感興趣的朋友可以自己搜搜看。
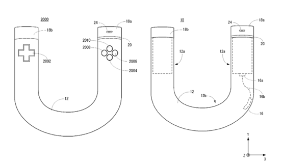
U形健身用手柄
任天堂不僅關心你的娛樂生活,還關心著你的健康。任天堂曾表示公司內部有與QOL(生活品質)產品相關的部門,其實這一點從Wii Fit就能初見雛形了。而除了Wii Fit以外,任天堂還設計過其他與健康相關的外設,比如這個U型手柄。

可以看到它的兩端有十字鍵和四個常規按鍵,是可以當做獨立手柄使用的。專利檔中顯示,該手柄由鋁合金控制,內部空心並放有感測器。當用戶手握控制器兩端並向中間施加壓力時,裝置可以精確測量壓力的大小。

所以這就是一個健身外設,你可以通過特別的配件將他變成握力器,或許也可以向兩手內側施力鍛煉胸肌?對應的軟體會顯示使用者的訓練資料。另外,專利裡還給出了其他形態的設計思路,比如環形或者8字形。

等等,說到環形的話,這個裝置是不是就有點像不久前官方公佈的那個普拉提圈?說不定這個專利就是普拉提圈的創意雛形呢。
睡眠投影裝置
健完身之後,休息也很重要。任天堂曾在2015年7月的時候公開過一個睡眠監測設備的專利,該設備能監測使用者睡眠時的脈搏、睡眠環境溫度、濕度等資料,通過計算給出QOL(生活品質)指數,並給出休息建議。

從圖片上來看,這個設備是與手機一同使用的,並且在設備上方有一個投影裝置。在用戶醒來之後,可以直接看到投射在天花板上的預設圖像。

其實睡眠監測裝置現在市面上已經有很多,智慧手環以及許多手機App也有類似的功能。讓任天堂這種遊戲主機廠商來做QOL設備,自然會讓人們多一份期待。不過2016年的一次電話會議中,時任任天堂總裁的君島達己曾表示“目前任天堂沒有信心能將這個有關睡眠和疲勞的設備以一個成熟的產品實現”,也就是說這個專案被暫時擱置或雪藏。
在今年5月的寶可夢事業戰略發佈會上,石原恒和宣佈將推出一款名為《寶可夢Sleep》的“睡眠娛樂化”手機遊戲,以及可以檢測睡眠品質的新外設Pokemon GO Plus+。雖然任天堂方面曾表示這不屬於任天堂內部的QOL路線產品,不過多少也能讓期待類似產品的玩家們感到開心吧。

不過具體這個裝置怎麼檢測睡眠,還得等官方進一步說明
滾輪設計的肩鍵
任天堂對於遊戲手柄發展的貢獻不用多提,直到最新的Switch,任天堂主機手柄的形態一直在不停變化。而油管手柄的專利也相當多,其中一個便在肩鍵上動了些腦筋。
2015年任天堂公佈了一個掌機(當然,說是類似WiiU的手柄也行)設計專利,它最大的特點就是將兩個肩鍵改成了滾輪。

與傳統的LR肩鍵或者扳機鍵設計相比,滾輪顯然會在一些層面有額外的用途,比如控制游標、距離等等。有趣的一點是,專利文檔中表示,玩家可以根據使用場景一隻手拿控制器,這時就可以用拇指來控制一個滾輪進行遊戲。顯然這算是對玩法的擴展。
這樣的手柄至今我們仍未見到,雖然操作上顯得更有趣一些,不過仔細想想可能沒有兩套LR肩鍵通用性強,也許這就是任天堂至今未採納的原因吧。不過主流遊戲手柄的基本形態很久都沒有變過,到底手柄還有沒有進化的空間?不知道任天堂未來會不會給我們提供另一個答案。
新型Joy-Con?
最後提到的這個專利不久前在國內社交媒體上引起了不小的反響,很多人都覺得這可能是未來NS Pro採用的新式Joy-Con。那我們就來看看那這到底是一個什麼樣的設計。

從專利圖中不難看出,這個Joy-Con的外殼並不是可彎曲的,而是特意做成了這個樣子。倒是與主機部分連接的滑軌可以彎折。也就是說,即使Joy-Con形狀發生了變化,它依然可以通過這個可彎折滑軌與主機連接。而當你把Joy-Con拆下來時,滑軌也可以收回,與Joy-Con外邊緣保持平行。
其實專利檔中的“課題”一項已經說明了這項專利的意義所在:“提高有關形狀設計上的自由度”,也就是說這項專利的意義在於這個可彎折滑軌。有了這種滑軌,以後的JoyCon就可以向“異形化”發展了。專利檔後面也給出了另外一個圖例,就算Joy-Con設計成彎的也沒有問題。

所以大家看到的這個彎折Joy-Con也許並不是NS Pro的手柄。不過你可以把這項專利當做是未來新Joy-Con的設計基礎,實際變化更大也說不定呢。
